一、产品概述
全新概念的开关柜智能操控装置。产品功能强大,适用于6-35KV 户内开关柜,中置柜、手车柜、固定柜、环网柜等多种开关柜。具有动态一次模拟图、高压带电显示、自动加热除湿数值显示及控制、断路器分合状态指示、储能指示、接地开关状态指示、小车位置指示、分合闸回路完好指示、人体感应带电提示及柜内照明、以及无线测温功能、语音防误提示等功能,可取代现有的一次回路模拟图、带电显示器、自动加热除湿控制器、断路器分合按钮等。并且具有RS485通讯接口,能够使开关柜进一步,智能化,网络化,数字化。方便广大用户使用与操作。
二、技术指标
工作温度:-20~+65℃
工作湿度:≤95%RH
介质强度:≥AC2000V
绝缘性能:≥100MΩ
抗电磁干扰性能:符合IEC255-22的标准规定
工作电源:AC85~265V/DC110~220V
动态闪烁频率:两次/秒
湿度测量范围:0%~100%RH
温度测量范围:-40℃~+85℃
湿度测量精度:±3.0%RH
无线测温范围:-40℃~+125℃
温度测量精度: ±1℃
响应时间:≤2s
人体接近感应时间:≤3秒
人体接近语音提示时间:0~29秒
通讯方式:RS485
通讯波特率:1200bps、2400bps、4800bps、9600bps可选
数据格式:8个数据位 1个终止位 无奇偶校验
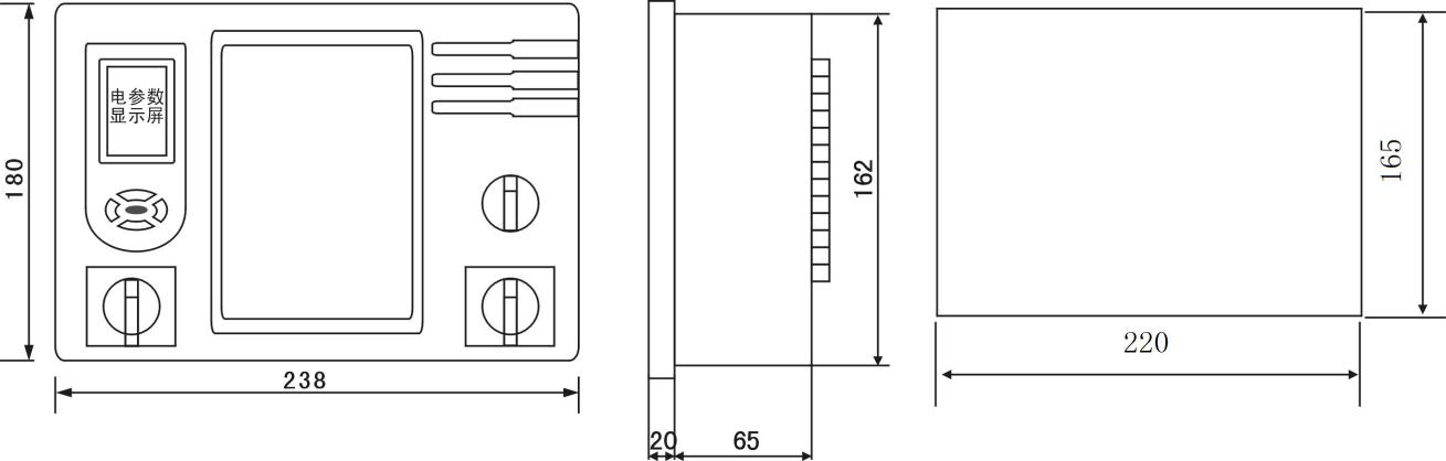
三、产品尺寸图










